首页  总揽  写作  简讯  散文  诗词  摄影  幻灯片  书画展  局矿快报  党群工作  安全专题  经验交流  通讯特写  厂商在线  矿建勘探  领导访谈  论文言论  人物展示  文教卫生  图片新闻  安监动态  煤企聚焦  焦点话题  事故快报  小说故事杂文  在线投稿 |  特约通讯员档案

为什么杭州能公开色狼名字,侵犯隐私权吗?

煤炭资讯网 2023/4/24 16:12:12    一事一议

最近,杭州市政府一个举动获得了广大女性的一致好评——

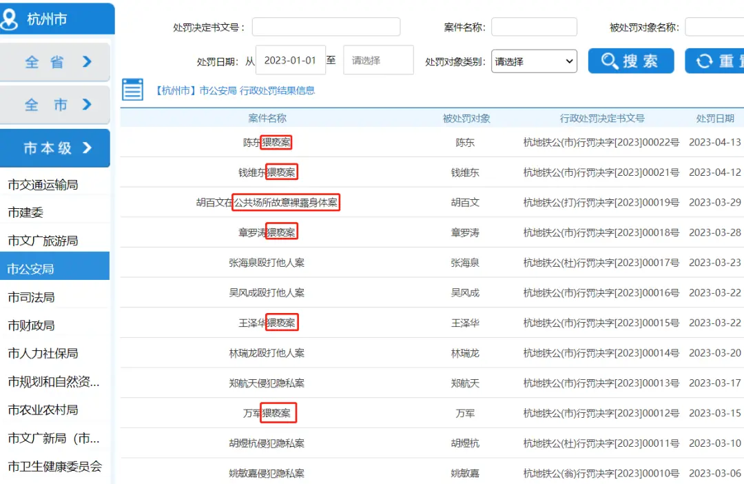
不仅对地铁、公交车上猥亵女乘客的违法者给予了罚款或拘留处罚的决定,还公开了这些违法者的姓名。

为什么杭州能公开色狼名字,侵犯隐私权吗?

也有不少男性网友表示支持,避免无辜男性为色狼买单。

还有网友建议杭州公开违法者姓名的举措应“全国推广”。微博上一项大型调查结果显示,有83.1万网友支持公布色狼完整姓名,占比高达97%。

为什么杭州能公开色狼名字,侵犯隐私权吗?

与之形成鲜明对比的,是大部分地区犯强奸罪犯罪嫌疑人的统一称谓——某某。

为什么杭州能公开色狼名字,侵犯隐私权吗?

为什么强奸罪的犯罪嫌疑人被称为某某,而在杭州地铁上耍流氓就要被公布全名呢?

为什么杭州能公布色狼姓名?

先要了解一下“强奸罪”与“猥亵”的区别:

强奸罪属于刑事犯罪,对社会的危害远大于猥亵,惩处力度也大于猥亵,因此会受到判刑、剥夺政治权利、没收财产等“刑事处罚”,只能由人民法院实施处罚;猥亵是违法行为,虽不构成犯罪,也需依法接受相应的处罚,可由行政机关实施“行政处罚”。

“行政处罚”适用的依据包括法律、行政法规、地方性法规和规章,与只能依据法律的刑事处罚不同。

此次杭州公开“色狼”姓名的举措,就依据了浙江省人民政府第39次常务会议审议通过的《浙江省行政处罚结果信息网上公开暂行办法》(下简称办法)相关规定:

在互联网上公开行政处罚结果信息,可以公开行政处罚决定书全文或者摘要信息。

而该《办法》中的“摘要信息”,不仅包括被处罚人的姓名,还包括行政处罚决定书文号、案件名称、主要违法事实、行政处罚的种类和依据、行政处罚的履行方式和期限、作出行政处罚的机关名称和日期等内容。

如此看来,公布“流氓”姓名是符合相关法律法规的。

那么,比流氓猥亵量刑更重的强奸罪犯,为什么可以叫某某?

因为强奸罪犯属于“犯罪行为”,比“违法行为”对社会的危害更严重,依据《中华人民共和国刑事诉讼法》第十二条规定,需要由“人民法院”依法判决并给予“刑事处罚”,但在判决生效前,罪犯的姓名、出生日期、身份证件号码、生物识别信息等“个人信息”与公民一样,受《中华人民共和国民法典》(下简称《民法典》)保护。

为什么杭州能公开色狼名字,侵犯隐私权吗?

图源:《中华人民共和国民法典》

这就出现矛盾了,量刑更重的强奸罪嫌犯“个人信息”受《民法典》保护,量刑较轻的猥亵就公布姓名,不受《民法典》保护了吗?

公布色狼姓名合理吗?

其实,不止未定罪的“嫌疑犯”个人信息受保护,很多完成刑事处罚的犯罪人个人信息也不会被公开,因为“刑事处罚”与“行政处罚”的侧重点不同:

“刑事处罚”针对严重危害社会的刑事犯罪分子,注重对违法犯罪活动的“惩戒”;“行政处罚”针对违反国家行政管理秩序行为的违法者,注重“教育”和“纠正”。

保护“刑事处罚”犯罪人的“个人信息”,有利于犯罪人服刑完毕后再次、顺利融入社会,可避免其因名誉受损失去生存能力而再次犯罪。

当然,这种保护措施并不适用于所有类型的犯罪分子,特别是危害性较大、“再犯率”较高的犯罪类型。

为什么杭州能公开色狼名字,侵犯隐私权吗?

贩卖人口的危害性大、“再犯率”高,警方会公布其姓名、身份证号及照片,并发布悬赏通告

“再犯率”指获释后特定时间、地区内,再次犯罪而被判刑的人数,与全体犯罪人数占比,是评估社会犯罪情况的一种方法,通常高发于盗窃、贩毒、猥亵、赌博等特定类型的犯罪类别。

因此对部分“犯罪情节严重”且(可能)“反复实施犯罪”的犯罪分子,有关部门也会公开犯罪者信息。如浙江省慈溪市检察院牵头法院、公安、司法局,于2023年出台《性侵害未成年人犯罪人员信息公开实施办法》。在当地,对符合条件的性侵未成年人犯罪人员,在其刑满释放后或者假释、缓刑期间,通过各单位的门户网站、微信公众号、微博等渠道公开其个人信息,方便公众随时查询、提高警惕。

在国外,针对性侵未成年儿童的惯犯,也会采取公布其照片、姓名的方式,预防犯罪发生。

为什么杭州能公开色狼名字,侵犯隐私权吗?

同类比较,只公开“色狼”的姓名,就显得合理了。

但“色狼”就不怕社死、不需要名誉、不用融入社会了吗?公布他们的姓名会不会变相增加他们改邪归正的难度?

另外,只公布“流氓”的姓名,又能否真正意义上起到保护女性的作用?

公布色狼姓名,作用几何?

在网上呼声最高的网友留言,是期望公布“色狼”的照片。网友为什么要求公布“色狼”照片呢?

首先,对于广大可能受害的女性来说,“色狼”的照片比名字的预防作用或许更大。

毕竟此次杭州公开姓名的“色狼”们,主要在公共场所对陌生人实施违法行为。而名字并不印在脑门上,不适用于预防公共场所猥亵,只能让色狼在其熟人圈“社会性死亡”。

其次,公开“色狼”姓名使其社死的同时,可能误伤与其同名同姓的好人,并对无辜者的工作、生活造成不良影响。

当然,名字可以重,脸也可能撞。就像前不久“3天被抓5次”的吉林大哥,因撞脸了悬赏逃犯多次被抓。

为什么杭州能公开色狼名字,侵犯隐私权吗?

公布“色狼”姓名的主要目的是震慑违法行为,确实可以让广大“有贼心没贼胆”的人,管住自己的手;也可能让已经身败名裂的“色狼”,在日后的就业、生活中举步维艰,踏上其他违法犯罪道路。

而此次杭州不公开“色狼”的照片、身份证号等个人信息,也是为“色狼”们留下了最后一块遮羞布。



来源:壹读      编 辑:肖平


声明:本网站新闻版权归煤炭资讯网与作者共同所有,任何网络媒体或个人转载,必须注明"来源:煤炭资讯网(www.cwestc.com)及其原创作者",否则本网将保留追究其相关法律责任的权利。
转载是出于传递更多信息之目的,若本网转载有来源标注错误或侵犯了您的合法权益,请作者持权属证明与本网联系(本网通讯员除外),我们将及时更正、删除,谢谢。 邮箱地址:1017016419@qq.com

总编辑:李光荣    副总编:韩一凡  顾问:王成祥、王金星  主编:欧阳宏  编辑:杨建华(网站监督)、黄永维、曹田升、陈茂春
备案序号:渝ICP备17008517号-1|渝公网安备50010702502224号
电话:(023)68178780、13883284332
煤炭资讯网原中国煤炭新闻网